
文章图片
苹果公司正在考虑如何重新设计Apple Watch和表带 , 使手表能够快速扣上和扣下 , 甚至让主人把它从手腕上取下来 , 作为一个小型的手持设备使用 。 苹果公司一直在慢慢地将Apple Watch打造为一个独立的设备 , 逐渐减少这款设备对iPhone的依赖 。 不过 , 除了在这么小的设备上安装更多功能的技术问题外 , 还有一个事实是手表的佩戴方式 。
根据一项新授予的专利\"具有释放机制的手表\" , 苹果认为戴在手腕上既是好事也是坏事 。
\"手腕上的手表和其他可穿戴设备通常对用户有吸引力 , 因为它们的便携性、审美吸引力 , 或基于它们佩戴在用户身上或紧紧固定在用户身上所能提供的独特功能 , \"该专利说 。
\"不幸的是 , 现有的可穿戴设备在其提供的功能范围或其对许多理想功能的可用性方面仍然受到限制 , \"该文件继续说道 。
该专利清楚地表明 , 这些限制确实包括技术方面的限制 , 但它并不是针对手表内部可以有什么 , 或者手表可以用来做什么 。 不过 , 苹果确实描述了其好处 。
专利中说:\"这可能是有用的 , 例如 , 允许传感器(如手表外壳中的相机)在用户自由手握的情况下或在从用户手腕上取下的情况下被操作 。 手表的连接机制可以允许在手表外壳中集成新的或有用的功能 。 \"
除了这一描述外 , 该专利的内容都是关于如何通过使手表的主体快速拆卸来促进更多的使用 。
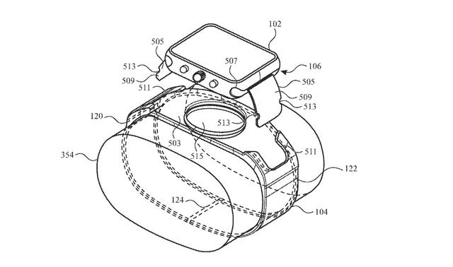
专利中包括几个\"连接机制\"的建议 , 但第一个 , 也许是主要的一个 , 涉及到拥有一个硬表带 。 因此 , 与今天典型的织物或其他可弯曲的表带材料相比 , 至少可以有一部分是刚性的 。
也许整个表带可以像一个手镯 , 但Apple Watch下面的部分是刚性的 。 \"[该
连接机制可以用巢穴式机制来实现 , \"苹果公司说 , \"在将外壳从用户的手腕上取下和/或将外壳重新安装到用户的手腕上时 , 手表带可以保持包裹在用户的手腕上 。 \"如果要把手表从表带上扣下来 , 然后再把它重新装上 , 那就没有用了 , 苹果提到这需要\"快速或符合人体工程学的释放手表外壳或主箱体\" 。
苹果所说的\"窝\" , 是指在表带上有一个可以让手表坐上去的洞 。 手表的下方 , 也就是传感器所在的地方 , 可以进入这个洞 。
这听起来像是苹果打算抛弃目前的表带连接方式 , 但这不一定是真的 。 因为在该专利对这一想法的其他变化中 , 旧式的连接器保留了下来 , 而且只是手表的一部分被分离出来 。
苹果公司的目标是拥有一个设备 , 加上其他未指明的技术进步 , 可以戴在手腕上 , 但拿下来做其他工作 。
这就是这项新授予的专利的重点 , 但它也简要地承认 , 所有这些最终可能只是戴上Apple Watch的一种不同方式 。
【Apple Watch|未来Apple Watch的表带部分也可提供更多用途】苹果公司说:\"此外 , 或者说 , 连接机制可以使手表或手表的部件从用户的手腕上更快速、更符合人体工程学或更方便地释放 , 而不需要操作可能相对更麻烦的扣子、带扣或闭合机制 , 或者相对远离手表外壳(例如 , 在用户手腕的另一侧) 。 \"
- 苹果|苹果开始卷屏幕了!未来iPad Pro将升级为OLED
- 苹果|传明年推出配备更大显示屏Apple Watch X系列和Apple Watch SE 3
- 标杆|未来三年 北京计划孵化国家高新技术企业两千家
- 苹果|苹果首款microLED Apple Watch将于2025年推出
- 多点的未来在哪里?
- 液晶显示器|都 2023 年了,LCD 还有好屏吗?真的还有未来?
- 短视频|在什么都在涨价的10月,NHK宣布未来降低收费但想收互联网接收费
- Apple Pay|魅族PPT泄露是“自导自演”?小米汽车谍照泄露索赔100万
- 创业|未来五年值得创业的是哪些行业?
- 国外网站 vintageapple.|ebay上出售500多件mac相关苹果旧产品
