
文章图片

文章图片

文章图片

【大疆|3月21日晚9点大疆新品发布会 将有三款新品发布】3月21日晚9点 , 大疆将举办新品发布会 , 这次新品的主题是“致守护者” , 将发布的是面向行业的产品 。
本次将发布三款新品:
第一个是大疆折叠行业机DJI M30 , 从其外观设计图可以看出 , 新品采用可折叠机身设计 , 尺寸比M300小了一圈 , 结构类似于消费级折叠机 , 不过翅膀机臂更长 , 看起来更灵巧 。
第二款新品是DJI RC Plus智能遥控器 , 适用于行业机和农业植保机 , 采用O3 Pro图传技术 , 最大图传15公里 。 配备7.02英寸1080P+分辨率 , 最大亮度高达1200nite 。支持上一代WB37外置电池、GPS模块以及充电管家等配件 , 自带4G网络模块 , 采用骁龙865处理器 。
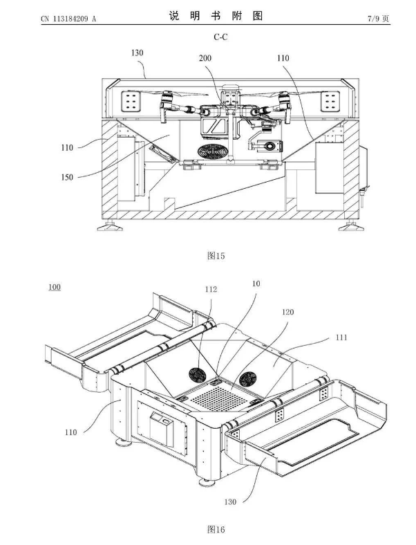
第三款新品据说是大疆无人机机巢 , 其专利图显示 , 这款机巢里面的无人机 , 正是这款DJI M30折叠行业机 。
无人机机巢车可实现厘米级精准起降、高清线路巡视和测温、线路巡视实时图传、无人机自动充电等工作 , 大大提升了巡检能力 , 有效减少人工巡线时间 。
- 电子商务|电猴网【3月21日快报】电商资讯/干货,网罗天下电商新鲜事儿
- 创业|三星笔记本时隔8年重返印度市场将于3月17日推出6款新Galaxy Book产品
- 小米12|小米12家族新成员来了!小米12 Lite曝光:屏幕比小米12更大
- 物资|深圳全面启用“电子通行证”
- 3月19日消息|小米京东自营店上架iPhone套装 王化解释真相
- 米家滚筒洗衣机10Kg发布;上海迪士尼将于3月21日起暂时关闭
- 无人机|大疆今日发布3款新品:其中一款折叠行业机 mini 3还得再等等
- 本文转自:北京晚报3月21日晚8点|京东服饰“春尚新”再迎开店潮 欧时力、娜尔思、逸阳盛大入驻
- 迪士尼|上海迪士尼度假区将于3月21日起暂时关闭:订票者可网上退票
- 本文转自:中国新闻网(东西问)短评:疫情下的春天:云生活不敌面对面?中新社北京3月20日...|东西问丨短评:疫情下的春天:云生活不敌面对面?
