
文章图片

文章图片

文章图片

文章图片

文章图片
富士公布机身防抖(IBIS)强制冷却传感器专利
或为富士新机X-H2设计
近日 , 富士公司fujifilm正式公布了包含防抖在内搭载冷却风扇和散热片的技术专利 。 此专利主要针对在反复拍摄而导致机身温度升高的情况下 , 机身无法在一定的时间内自然冷却 , 为了确保拍摄的进度而设计的装置 。
不仅如此 , 在加装了防抖装置后 , 由于发热的拍摄元件在拍摄时总是浮动的 , 因此在结构上难以消散从拍摄元件产生的热量 。 富士表示 , 此装置的发明 , 也正是为了解决这个问题 , 使其可以在拍摄后让拍摄装置急速冷却 , 从而能够保证摄影师正常的拍摄 。
申请人:FUJIFILM Corporation
公开号:P2022055674
申请号:P 2020163229
公开日期:2022-04-08
发明名称:成像装置和成像方法
根据本次公开技术实施例 , 提供了一种设置有图像稳定的图像拾取设备和图像拾取方法 。
近几年来 , 由于短视频的兴起繁荣 , 很多相机设备被用于长时间拍摄高质量的视频内容 。 而这些设备拍摄高质量的视频会消耗大量电能 , 而且拍摄设备所产生的热量也导致设备超过了适用的热度范围 。 长时间高品质视频拍摄中 , 为保护设备和使用者的财产安全和人生安全 , 当超过了温度范围时 , 设备就会启动过热保护机制 , 例如强制终止拍摄 , 过热关机等 。 因此 , 如果要拍摄高质量视频 , 很可能无法确保拍摄足够长时间 。
此外 , 如果设备在有间断的拍摄 , 设备温度下降无法达到降温所需的时间间隔 , 则依然无法确保足够长的拍摄时间 。 在具有机内防抖的设备中 , 由于发热成像元件在拍摄时总是浮动的 , 这导致在结构上 , 更加难以做降温设计 , 比如R5C , 虽然内置散热 , 但是没有IBIS 。
鉴于上述实际情况 , 在本专利实施例中 , 既能完成有机身防抖的拍摄 , 快速冷却成像元件 , 并能快速达到合理温度拍摄 , 确保高质量拍摄时长 。
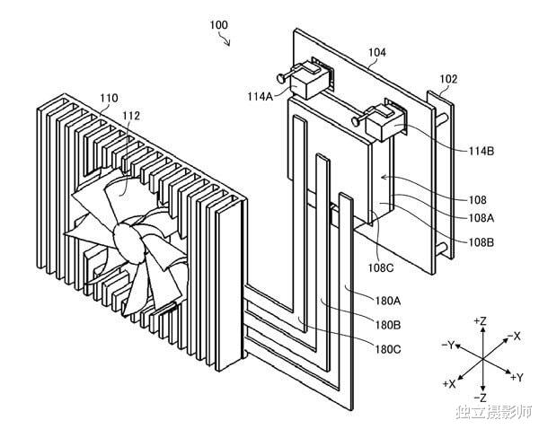
图像成像单元100包括三个热管180A至180C 。 热管180A至180C是传输热的热传输器 。 热管180A至180C的端部安装在冷却装置108的金属片108C上 。 热管180A至180C的另一端安装在散热器110中 。 其结果 , 冷却装置108产生的热通过热管180A~180C输送 , 能够在输送目的地被强制冷却机构冷却 。
这样看来 , 富士新机型在考虑内置主动冷却风扇 , 就像GH6、EOS R5C和FX3那样 。 富士也许在考虑出一款新的专业视频机器 。 之前不久发布的佳能EOS R5C上采用了强制风冷 , 不过并未有机身防抖功能 。 富士这次专利看样子是考虑强制冷却和机身并存 。
考虑到现在这个时机 , 也许富士马上要发布的XH2新机 , 或搭载这样的新技术 , 那么这款新机将会如虎添翼 , 毕竟是定位富士X系列顶级旗舰 , 第一代翻车 , 富士痛定思痛 , 卧薪尝胆 , 也许真能给我带来一款不可思议的强大机器 。
- 雷军|《财富》2022中国最具影响力50位商界领袖公布:任正非居首、雷军第8
- vivoX系列|vivo X系列两款旗舰快充公布:80W+50W
- 《龙珠:超宇宙2》DLC角色“悟空:自在极意功兆”公布
- AMD|鲁大师Q1十大热门显卡公布:NVIDIA再次垄断榜单
- PS商店3月游戏下载排行公布 《艾尔登法环》再度登顶
- 第三猫称冒险《流浪》在韩通过评级 发售日或将公布
- 日前|dxomark公布oppofindx5屏幕测试成绩
- 数据库|一个都逃不掉?俄决定再次公布,外媒:美企已经挡不住了!
- 《漫威复联》钢铁侠MK50新皮肤公布 明日上架商城
- 国产游戏《蛊婆》新作将转至虚幻5开发 实机画面公布
